Home
Shop
Sell Your Watch
Library
Menu
Home
Shop
Sell Your Watch
Library
×
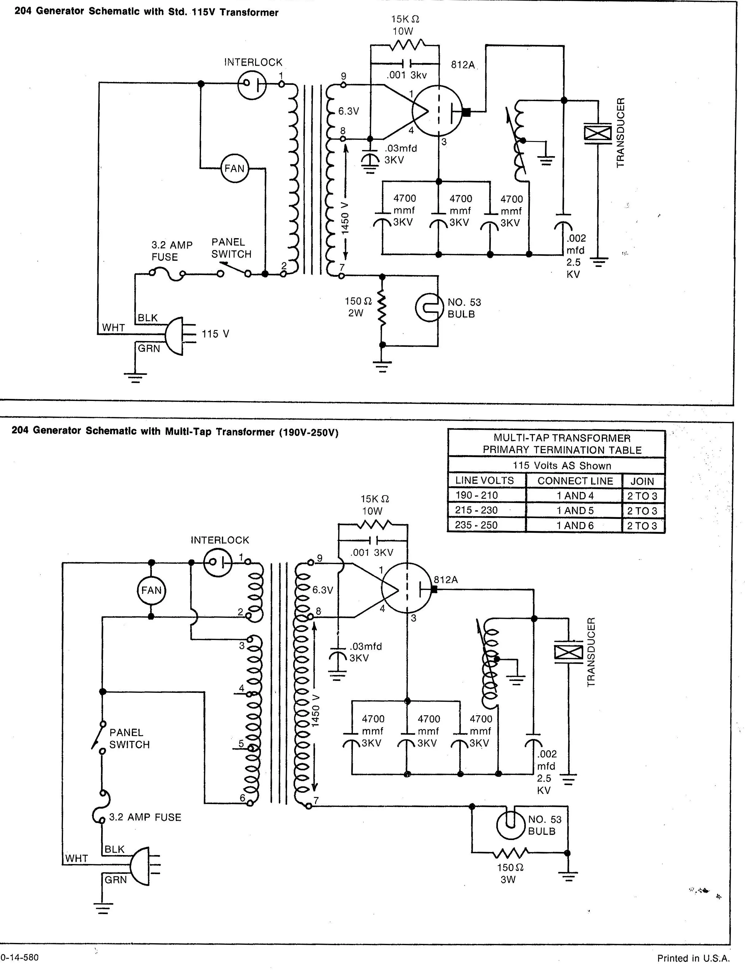
L&R Model #204 Ultrasonic Unit Installation & Operation
View fullsize
View fullsize
View fullsize
View fullsize
View fullsize
View fullsize
View fullsize
View fullsize